Кран шаровой регулирующий 682 приварной
Характеристики
Тип присоединения:
приварной/приварной
Регулирующие шаровые краны TEMPER предназначены для регулирования (балансирования) потока рабочей среды в системах теплоснабжения, хладоснабжения и вентиляционных систем. Шар имеет специальное проходное сечение, а кран оснащен шкалой со значениями. Регулирование осуществляется поворотом рукоятки с указателем. Выбранное положение рукоятки фиксируется с помощью болта и гайки-бабочки.
Два варианта исполнения:
1) С измерительными ниппелями (см. рисунок ниже).Измерение расхода и перепада давления в системе возможно с помощью расходомера.
2) Без измерительных ниппелей. Настройка расхода осуществляется только при помощи рукоятки с указателем.
Модификации
| Артикул | DN | PN | L | L1 | L2 | H | H1 | H2 | D | D1 | D2 | S | Вес без нипп | Вес с нипп | |
|---|---|---|---|---|---|---|---|---|---|---|---|---|---|---|---|
| 68220020 | 20 | 40 | 200 | 154,8 | 65 | 72,6 | 13,6 | 52,4 | 42 | 27 | 15 | 2,8 | 0,91 | 1,01 | |
| 68220025 | 25 | 40 | 230 | 154,8 | 65 | 74,6 | 12,6 | 55,8 | 48 | 32 | 18 | 3,2 | 1,21 | 1,3 | |
| 68220032 | 32 | 40 | 230 | 154,8 | 80 | 79 | 12,5 | 12,5 | 57 | 42 | 24 | 3,2 | 1,5 | 1,59 | |
| 68220040 | 40 | 40 | 250 | 248 | 90 | 128,5 | 31,5 | 31,5 | 60 | 48 | 30 | 3,5 | 2,23 | 2,32 | |
| 68220050 | 50 | 40 | 270 | 248 | 110 | 130 | 25 | 67,5 | 76 | 57 | 40 | 3,5 | 2,6 | 2,69 | |
| 68220065 | 65 | 25 | 280 | 248 | 120 | 134,5 | 23 | 77 | 89 | 76 | 48 | 3,5 | 3,45 | 3,54 | |
| 68220080 | 80 | 25 | 280 | 274,7 | 115 | 163 | 37,5 | 118,5 | 114 | 89 | 63 | 4 | 4,91 | 5,11 | |
| 68220100 | 100 | 25 | 300 | 274,7 | 125 | 170 | 35 | 128 | 133 | 108 | 75 | 5 | 6,69 | 6,88 | |
| 68220125 | 125 | 25 | 330 | 526 | 135 | 184 | 56,05 | 140,5 | 180 | 133 | 100 | 5 | 13,79 | 13,98 | |
| 68220150 | 150 | 25 | 360 | 526 | 150 | 195,5 | 48 | 153,5 | 219 | 159 | 125 | 6 | 18,92 | 19,11 | |
| 68220200 | 200 | 25 | 430 | 526 | 185 | 221 | 46,5 | 183,5 | 273 | 219 | 148 | 8 | 33,27 | 33,45 | |
| 68220250 | 250 | 25 | 510 | - | - | 329 | 61,8 | - | 351 | 273 | 200 | 8 | 71,22 | - | |
| 68220300 | 300 | 25 | 730 | - | - | 414 | 101 | - | 426 | 325 | 240 | 10 | 122,65 | - |
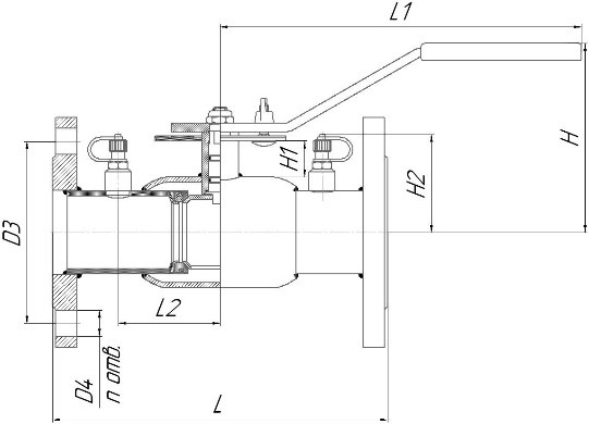
Кран шаровой регулирующий 683 фланцевый
Характеристики
Тип присоединения:
фланцевый/фланцевый
Регулирующие шаровые краны TEMPER предназначены для регулирования (балансирования) потока рабочей среды в системах теплоснабжения, хладоснабжения и вентиляционных систем. Шар имеет специальное проходное сечение, а кран оснащен шкалой со значениями. Регулирование осуществляется поворотом рукоятки с указателем. Выбранное положение рукоятки фиксируется с помощью болта и гайки-бабочки.
Два варианта исполнения:
1) С измерительными ниппелями (см. рисунок ниже).Измерение расхода и перепада давления в системе возможно с помощью расходомера.
2) Без измерительных ниппелей. Настройка расхода осуществляется только при помощи рукоятки с указателем.
Модификации
| Артикул | DN | PN | L | L1 | L2 | H | H1 | H2 | D3 | D4 | n отв. | Вес без нипп | Вес с нипп | |
|---|---|---|---|---|---|---|---|---|---|---|---|---|---|---|
| 68320020 | 20 | 40 | 240 | 154,8 | 65 | 74,6 | 15,6 | 52,4 | 75 | 14 | 4 | 2,43 | 2,53 | |
| 68320025 | 25 | 40 | 240 | 154,8 | 65 | 74,6 | 12,6 | 55,75 | 85 | 14 | 4 | 2,96 | 3,06 | |
| 68320032 | 32 | 40 | 270 | 154,8 | 80 | 79 | 12,5 | 60,15 | 100 | 18 | 4 | 4,13 | 4,22 | |
| 68320040 | 40 | 40 | 200 | 248 | 65 | 129 | 31,5 | 63 | 110 | 18 | 4 | 4,9 | 4,99 | |
| 68320050 | 50 | 40 | 230 | 248 | 70 | 130 | 25 | 67,5 | 125 | 18 | 4 | 6,26 | 6,35 | |
| 68320065 | 65 | 16 | 270 | 248 | 85 | 134,8 | 23 | 77 | 145 | 18 | 4 | 8,61 | 8,7 | |
| 68320080 | 80 | 16 | 280 | 274,7 | 95 | 163 | 37,5 | 118,5 | 160 | 18 | 4 | 11,01 | 11,2 | |
| 68320100 | 100 | 16 | 300 | 274,7 | 105 | 170 | 35 | 128 | 180 | 18 | 8 | 14,22 | 14,41 | |
| 68320125 | 125 | 16 | 350 | 526 | 130 | 184 | 56,05 | 140,5 | 210 | 18 | 8 | 24,44 | 24,63 | |
| 68320150 | 150 | 16 | 380 | 526 | 145 | 195,5 | 48 | 153,5 | 240 | 22 | 8 | 31,39 | 31,57 | |
| 68320200 | 200 | 16 | 450 | 526 | - | 221 | 46,5 | - | 295 | 22 | 12 | 53,37 | 53,55 | |
| 68320250 | 250 | 16 | 530 | - | - | 329 | 61,8 | - | 355 | 26 | 12 | 100,03 | - | |
| 68320300 | 300 | 16 | 750 | - | - | 414 | 101 | - | 410 | 26 | 12 | 161 | - |