Категории
Поворотно-дисковый затвор трехэксцентриковый приварной
Характеристики
Макс. температура (Т) °С.: +200°С (НТ), +325°С (ВТ)
Мин. температура (Т) °С.: до -40 °С (исп. У), до -60 °С (исп. ХЛ)
Класс герметичности: Класс «А» ГОСТ 9544-2015
Срок службы: Не менее 30 лет
Гарантийный срок: 10 лет
Материалы корпуса: Сталь 20 / 09Г2С
Номинальное давление: 2,5 Мпа
Присоединение: Приварное
Исполнение: Низкотемпературное НТ (до +200°С), высокотемпературное ВТ (до +325°С)
Ресурс: Не менее 2 000 циклов
Управление: Правое / левое
ПаспортРабочая среда:
Теплосетевая вода, нефтепродукты, ГСМ и другие жидкие среды.
Номинальный диаметр от DN 150 DN 1200
Исполнение: низкотемпературное (НТ): до +200 С (пар до +150Сº), высокотемпературное (ВТ): до +325Сº
· Маркировка индивидуального номера затвора нестираемым методом
· Конструкция затвора испытана в сложных условиях путем сжатия, растяжения и изгиба
· Рассчитаны на эксплуатацию в агрессивных средах и при высоких нагрузках
Ключевые особенности конструкции:
· Третий эксцентрик обеспечивает нулевую утечку при минимально возможном моменте затяжки.
· Уплотнение «металл по металлу» в сочетании с третьим эксцентриком гарантирует плавное открытие диска — без трения даже при максимальном перепаде давления.
· Защита от заклинивания — конструкция третьего эксцентрика предотвращает заклинивание диска, обеспечивая надёжность работы затвора.
Установка на трубопровод
Возможность монтажа затворов предусмотрена как на горизонтальных, так и на вертикальных трубопроводах. На горизонтальных участках рекомендуется устанавливать затворы так, чтобы шпиндель располагался горизонтально. Допустимо размещение под углом 45°. В соответствии с ГОСТ Р 53672 применять затворы в качестве опоры для трубопровода запрещено
Затворы сохраняют работоспособность в температурном диапазоне от −60 °C до +325 °C благодаря продуманному выбору материалов для ключевых элементов: корпуса, патрубков, шпинделя и горловины.
Повышенная прочность и износостойкость
В поворотных затворах применяется уплотнение типа «металл по металлу», которое гарантирует плавное открытие диска без трения даже при максимальном перепаде давления. Штампованное нержавеющее кольцо за счёт особой формы плотно и равномерно прилегает к седлу по всей окружности в момент закрытия, обеспечивая двустороннюю герметичность потока. Конструкция предусматривает замену прижимного кольца, что существенно повышает ремонтопригодность узла
Удобство монтажа
Концы патрубков и зеркала фланцев затворов всех диаметров не окрашиваются — это сделано для улучшения качества монтажа. Такой подход помогает избежать трудоёмкой очистки от краски и не снижает качества сварного шва.
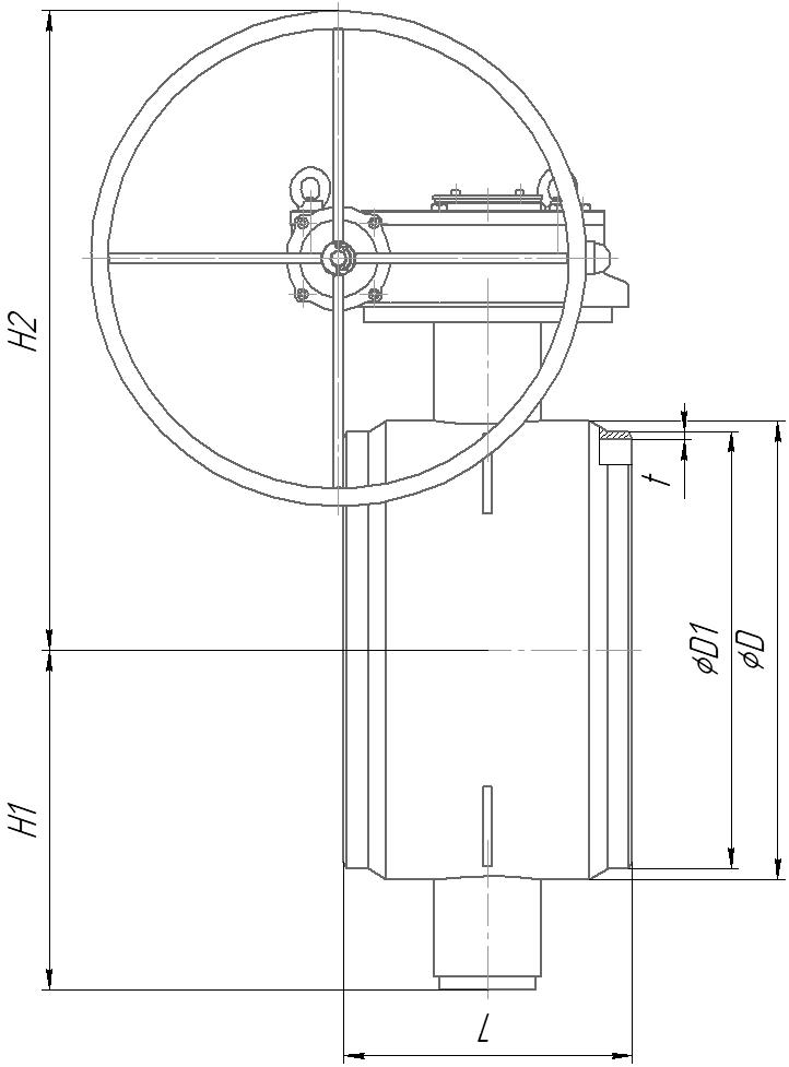
Модификации
| Артикул | DN | PN | Ширина (наружный диаметр), мм | Высота, мм | Длина, мм | Масса без привода (не более), кг | |
|---|---|---|---|---|---|---|---|
| ЗД.3.82.20.150.25 | 150 | 25 | 159 | 350 | 210 | 20 | |
| ЗД.3.82.20.200.25 | 200 | 25 | 219 | 430 | 230 | 30 | |
| ЗД.3.82.20.250.25 | 250 | 25 | 273 | 490 | 250 | 55 | |
| ЗД.3.82.20.300.25 | 300 | 25 | 325 | 625 | 270 | 80 | |
| ЗД.3.82.20.350.25 | 350 | 25 | 377 | 675 | 290 | 125 | |
| ЗД.3.82.20.400.25 | 400 | 25 | 426 | 740 | 310 | 150 | |
| ЗД.3.82.20.500 | 500 | 25 | 530 | 890 | 350 | 225 | |
| ЗД.3.82.20.600.25 | 600 | 25 | 630 | 1040 | 390 | 360 | |
| ЗД.3.82.20.700 | 700 | 25 | 720 | 1175 | 430 | 485 | |
| ЗД.3.82.20.800 | 800 | 25 | 820 | 1350 | 470 | 625 | |
| ЗД.3.82.20.900 | 900 | 25 | 920 | 1460 | 510 | 975 | |
| ЗД.3.82.20.1000 | 1000 | 25 | 1020 | 1565 | 550 | 1290 | |
| ЗД.3.82.20.1200 | 1200 | 25 | 1220 | 1790 | 630 | 1560 |